简介:迪信自主研发模块护墙板,安装便捷高效,大幅缩短施工工期;耐刮耐磨、防潮防霉;多材质、多颜色可选。
说明:(1)插座价格另计(2)*号代表可定制尺寸(3)厚度:12mm
说明:(1)*号代表可定制尺寸(2)厚度:12mm

银铝踢脚板

玫瑰金铝踢脚板

烟云灰

晨曦金

深空灰

SPC-BW-01三色条纹

SPC-BW-07米色格纹

SPC-BW-09灰色

SPC-BW-13紫色

SPC-BW-17白色条纹

SPC-BW-18灰色条纹

SPC-BW-20银灰色草纹

SPC-BW-05白色草纹

SPC-BW-06十字深杏

SPC-BW-10白色

SPC-BW-19浅香槟草纹

SPC-BW-11蓝色

SPC-BW-12绿色

SPC-BW-14新杏色

SPC-BW-15橙色

SPC-BW-16粉红色

9Q浅色木皮

4Q银檀木皮

WA浅胡桃木皮

HX灰橡木皮

EV深色木皮

BX白橡木皮

9S欧洲橡木皮

NHY幻影色

QXB浅香槟色

M1213米色(杜邦蒙特利)

MG1202浅灰色(杜邦蒙特利)
简介:环保密度板底材,可随意裁切尺寸;多种材质和颜色可选,有效完成墙面修口。

9Q浅色木皮

4Q银檀木皮

WA浅胡桃木皮

HX灰橡木皮

EV深色木皮

BX白橡木皮

9S欧洲橡木皮

NHY幻影色

QXB浅香槟色
简介:专利卡扣式结构,铝合金材质坚固耐用,有效避免阳角开裂、磕碰问题。

9Q浅色木皮

4Q银檀木皮

WA浅胡桃木皮

HX灰橡木皮

EV深色木皮

BX白橡木皮

NHY幻影色

QXB浅香槟色
采用优质PU皮/布料,适用于客厅、卧室不规则拼接背景墙设计;触感柔顺,耐用易清洁。

M1696古铜色

G644香槟金色

B1486蓝色

N725 浅铜色

D793-07米白色

TA802-10杏色

V799-434浅啡色

V799-430中啡色

V799-416深啡色

V799-441深紫色

V799-428中灰色

TA802-06中啡色

TA802-07深啡色

T800-04灰白色

T800-10棕色
极简造型,线条利落,和墙体完美融合;意大利五金开合顺滑、经久耐用,隔音效果佳。

天地铰(DZJ-MK-TD)

拉手连锁(DZJ-MK-HKL)

拉手连锁(DZJ-MK-HA)

吊轨、吊辘

附加锁

天地铰(加大孔)

附加锁

地铰

9Q浅色木皮

4Q银檀木皮

WA浅胡桃木皮

HX灰橡木皮

EV深色木皮

NHY幻影色

QXB浅香槟色

银铝漆

玫瑰金铝漆

灰铝漆

511纱双面光面夹胶玻璃

511纱单面雾化夹胶玻璃

波浪夹胶玻璃
简介:功能性隔断;玻璃屏风造型精美,图案绚丽;木条屏风天然质朴,通风透光性佳。
说明:(1)* 号代表可定制尺寸; (2)4mm+4mm夹胶艺术玻璃(No.511纱)

511纱双面光面夹胶玻璃

9Q浅色木皮

4Q银檀木皮

WA浅胡桃木皮

HX灰橡木皮

EV深色木皮

NHY幻影色

QXB浅香槟色
简介:杜邦可丽耐人造石台面:质地坚固,耐磨防滑,抗污易清洁;可选柜糟、抽屉、多用柜等配置,收纳自如。

M1213米色(杜邦蒙特利)

MG1202浅灰色(杜邦蒙特利)

WN910设计师白(杜邦可丽耐)

卡拉卡塔金(德利丰岩板)

细线白(德利丰岩板)

臻品鱼肚金(德利丰岩板)

9Q浅色木皮

4Q 银檀木皮
简介:按压式柜门,有效扩容收纳空间;华丽灯光设计,美观实用兼具,打造精致卫浴空间。
说明:*号代表可定制尺寸
说明:尺寸不定制
简介:地面水平式设计,大方简洁;杜邦蒙特利人造石材质,质地坚固,耐磨防滑,抗污易清洁。

M1213米色(杜邦蒙特利)

MG1202浅灰色(杜邦蒙特利)
简介:迪信卫浴玻璃组件,甄选高强度钢化玻璃,通透澄澈;镀光铬玻璃夹及门拉手,表面光滑细腻,手感舒适。

抛光铝合金门拉手

镀光铬玻璃夹(180°双面夹)

镀光铬玻璃夹(90°单面夹)

玻璃门胶条

门挡
说明:玻璃尺寸可依据施工图纸定制
简介:采用进口优质榉木,纹理清晰温润,质地坚硬耐磨,不易变形开裂;精准控制采光,增添雅致格调。
说明: * 号代表可定制尺寸

9Q浅色木皮

511纱双面光面夹胶玻璃
简介:迪信抛光铝扶手,涵盖平层、楼梯扶手;可根据空间尺寸、使用需求灵活调整高度与长度。
说明:为避免铝材色差,同一客户限选用同规格铝材。
简介:选用高品质铝合金材质,轻薄耐用、不易变形,表面哑光质感高级,可完美修饰墙面与地面衔接处。

玫瑰金铝

银铝
简介:可根据空间尺寸、使用需求灵活定制大小;搭配实用小抽屉,实现办公、妆台一体化功能。
说明:*号代表可定制尺寸

深灰色

白色

米色

北美黑胡桃
简介:专为红酒收藏爱好者打造;隔热恒温玻璃及酒窖门能精准控制酒窖内部温湿度,有效保护红酒品质;可搭配迪信酒架功能模块,实现红酒有序收纳与展示。
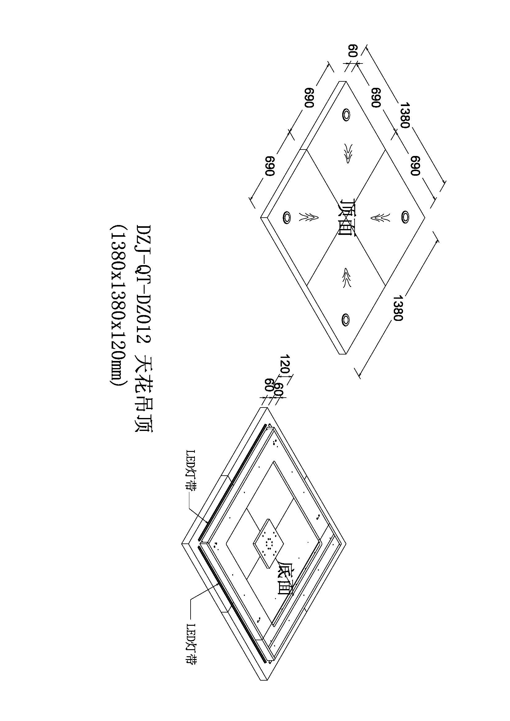
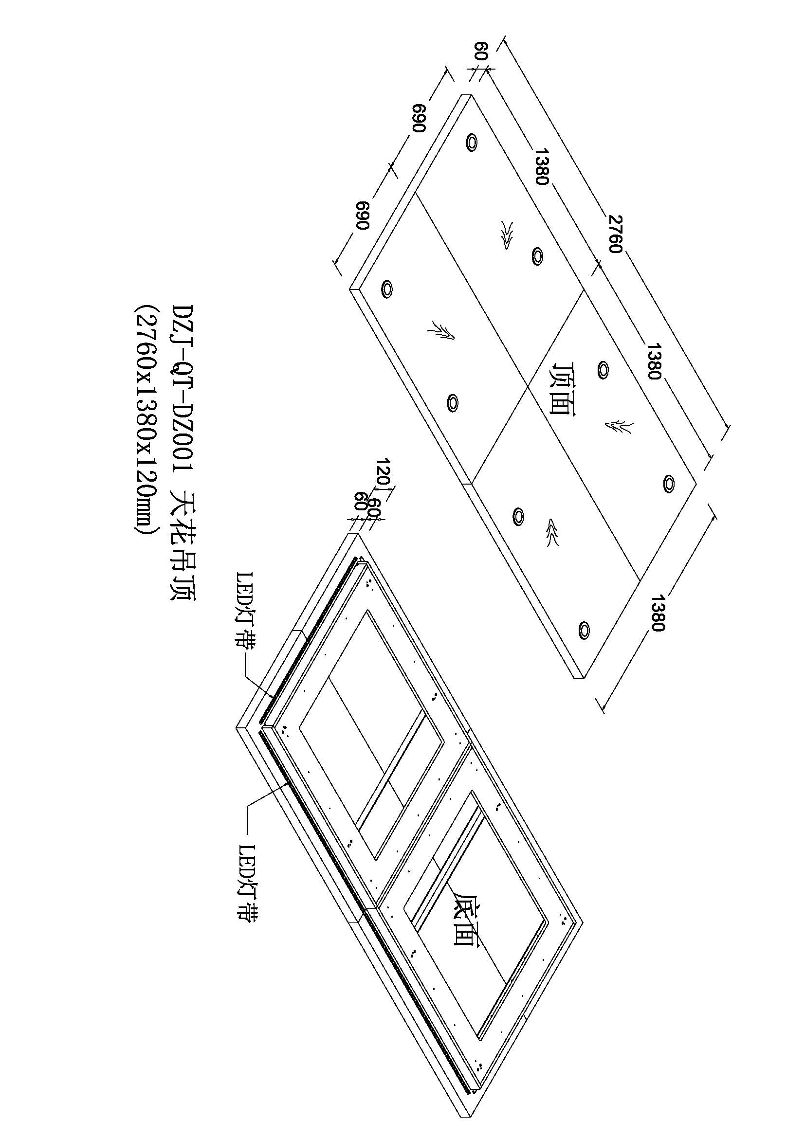
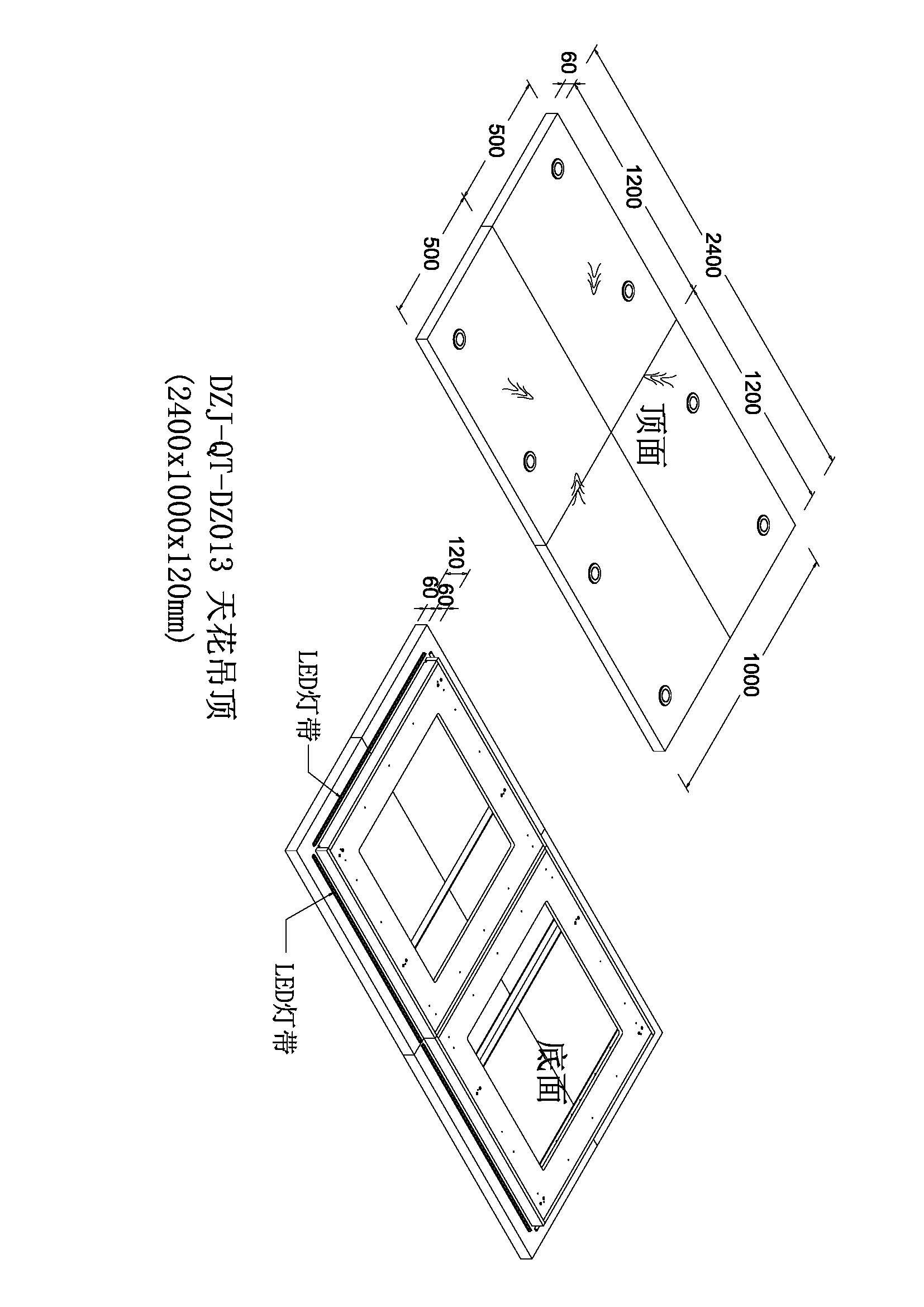
简介:精选稳定基材打造,木皮纹理自然舒展,搭配嵌入式筒灯与氛围灯带,既能柔化空间光线、提升餐厅与公共区域的温馨感,又能通过利落的线条,实现无死角的顶面处理,与整体家装风格浑然一体。